- Opis
- Parametry techniczne
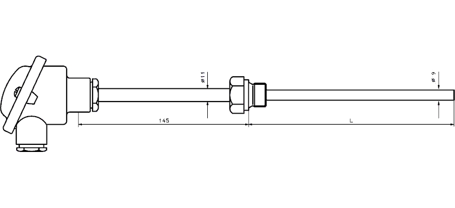
- Wymiary
TSI-400
Czujniki temperatury typu TSI-400 z wymiennym wkładem pomiarowym przeznaczone są do pomiaru i regulacji temperatury mediów ciekłych lub gazowych w warunkach przemysłowych.
Sensorem temperatury jest opornik termometryczny RTD Pt100 (lub Pt500, Pt1000) lub spoina termometryczna (termopara) TC typu K (lub J, N).
Zbudowany jest w oparciu o wkład pomiarowy TSI-0..., którego cienkościenna osłona zapewnia dobre parametry dynamiczne pomiaru (niewielka stała czasowa).
Konstrukcja czujnika umożliwia montaż przetwornika temperatury
w głowicy przyłączeniowej.
· zakres pomiarowy -90 ... 700°C (-200 ... 700°C opcjonalnie)
· sensor pomiarowy Pt100, J, K, N, inne
· klasa dokładności: A, B - oporowy (RTD) 1, 2 - termoparowy (TC)
· wersje z przetwornikiem temperatury
TSI-400
Parametry techniczne:
| Zakres pomiarowy | -90 ... 700°C |
| Typ sensora | RTD: Pt100 (Pt500, Pt1000) pojedynczy lub podwójny |
| TC: K (J, N) pojedynczy lub podwójny | |
| Dokładność RTD (wg. PN-EN 60751) | A: ±(0,15+0,002t) w zakresie -200 ... 650°C |
| B: ±(0,3+0,005t) w zakresie -200 ... 850°C | |
| Dokładność TC (wg. PN-EN 60584) | 1: ± 1,5 °C w zakresie -40 ... 375°C; ± 0,004t powyżej 375°C |
| 2: ± 2.5 °C w zakresie -40 ... 333 °C; ± 0,0075t powyżej 333°C | |
| 3: (dotyczy K, N) ± 2,5°C w zakresie -167 ... 40°C; ± 0,015t w zakresie -200 ... -167°C | |
| Czas odpowiedzi | RTD: τ0,5 ≤ 43s, τ0,9 ≤ 125s (dla wody 0,4 m/s) |
| TC: τ0,5 ≤ 28s, τ0,9 ≤ 90s (dla wody 0,4 m/s, spoina izolowana) | |
| TC: τ0,5 ≤ 6s, τ0,9 ≤ 159s (dla wody 0,4 m/s, spoina uziemiona) | |
| Max. prąd pomiarowy | 5 mA (dotyczy RTD) |
| Głowica przyłączeniowa | typu B (odlew aluminiowy), IP 54, max temp pracy 100°C, przyłącze elektryczne PG16 |
| Osłona zewnętrzna | stal kwasoodporna 1.4541 lub 1.4571 |
| Średnica | 6mm, 8mm |
| Długość montażowa L | 100 ... 2000 mm |
| Długość montażowa/wkładu (wartości typowe) | 160 / (315), 250 / (405) mm |









Karta katalogowa produktu wraz ze schematem zamawiania